安全狗云中心客戶端集服務器安全管理和網站安全管理于一體,實現遠程在線實時監控功能。用戶只需在電腦上安裝安全狗云中心客戶端,同時服務器上安裝安全狗軟件,兩者配合,即可實時了解服務器與網站的安全狀態,同時安全狗軟件的實時告警信息也將全部通過告警消息的方式推送到客戶端,讓您無需登錄服務器,就可以輕松掌握服務器與網站的安全狀態。

主要功能:
服務器資源監控
無需登錄服務器即可實時獲知服務器CPU、內存、硬盤、網絡流量等使用情況
遠程登錄
通過云中心客戶端即可方便遠程登錄到服務器,并可對登錄信息進行保存設置
重啟服務器、重啟關鍵服務
方便快捷的遠程重啟服務器或重啟關鍵服務,快速解決突發問題
網站安全管理
快捷了解網站最近安全狀態,如最近一個月防攻擊攔擊次數、防篡改攔截次數等
網站云防篡改
通過云中心客戶端即可方便將防篡改文件傳到云中心,并同步到服務器上
網站云安全檢測
客戶端上快捷找到網站云安全檢測的入口,通過經常性的漏洞掃描,了解網站潛在風險問題
告警信息及時推送
所有告警信息都將通過消息窗口及時推送到客戶端,幫助您第一時間了解服務器與網站安全狀況
更新日志:
1、安全升級,驗證用戶帳號安全性
2、服務器重啟、關鍵服務、安全防護設置等功能增加安全驗證
3、服云帳號在異地登錄增加安全驗證
4、在主界面區,增加“統計分析”入口和推送內容
5、在主機面板頁面右上角增加“安全報告”入口
6、登錄監控增加監控配置功能
相關搜索:安全狗
安全狗服云登錄監控怎么設置?為了保證安全狗服云賬號的安全,服云可以提供賬號登錄監控,它可以查看您的賬號在那個地區登錄,讓您時時監控自己的賬號。了解信息。那么這個安全狗服云登錄監控怎么設置呢?接下來小編就來為大家分享一下解登錄監控設置方法。
“服云”登錄監控主要通過服務器安全狗對服務器遠程桌面登錄情況進行實時監控,用于幫助用戶及時發現服務器遠程桌面登錄異常,減少因服務器被入侵所帶來的危害。
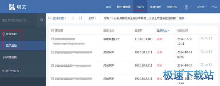
1、在“主機面板”頁面,通過“登錄監控”欄目,即可了解該服務器遠程桌面登錄情況,如圖所示:

2、目前,僅服務器安全狗V4.1版本及以上版本支持“登錄監控”功能,在使用“服云”過程中,如果遇到“登錄監控”欄目提示“安全狗版本較低”,建議升級服務器安全狗至V4.1版本;
3、點擊“登錄監控”欄目上的提示鏈接(圖標或文字),進入“異地登錄”頁面查看監控詳情,如圖所示:

4、或在“云監控”頁面,進入“登錄監控”頁面,如圖所示:

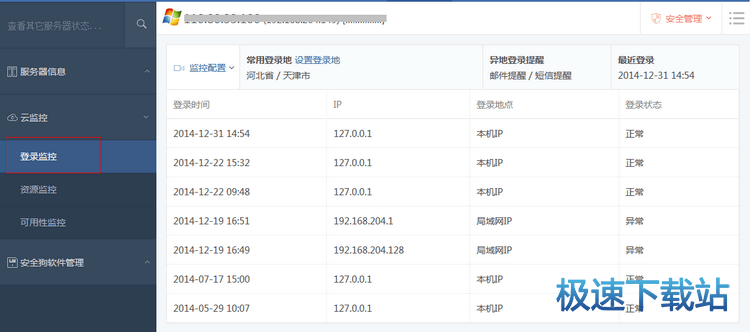
5、在需要查看詳情的監控項目上,點擊查看詳情圖標,進入監控詳情頁面,如圖所示:

6、在“異地登錄”頁面,點擊監控配置,對異地登錄監控提醒進行設置,如圖所示:

服務器要安裝安全軟件嗎?答案是肯定的,服務器安全軟件是非常重要的,它可以幫你防御ARP攻擊、CC攻擊、DDOS攻擊等等,并支持端口保護、登陸保護等等,所以服務器是必須要安裝安全軟件的,目前比較知名的安全軟件有服...
注:您的評論需要經過審核才能顯示,請文明發言!